Num. d'article: N-3000251027
Serrure à larder pour porte intérieure BB 20/55/72/8 mm DIN à gauche argent arrondi Classe 1
Description du produit :
- SSF garantit que les serrures à larder pour portes intérieures répondent aux exigences de la norme DIN 18251-1.
- Classe 1 : Serrures pour portes intérieures légères
- Les classifications des serrures comprennent simultanément une performance de qualité croissante.
- Les clés de classification selon la norme européenne EN 12 209 sont attribuées aux types de serrures respectifs sur les pages individuelles du catalogue.
- Les portes intérieures sont soumises à une charge à long terme et permanente.
- La part de la serrure dans le coût total d'une porte/cadre est relativement secondaire.
- SSF recommande la qualité.
- Les informations sur les dimensions du mandrin, les types de fermeture, les variantes, les finitions matérielles ainsi que les options correspondent aux descriptions des différentes séries de serrures.
- Les boîtiers de serrure sont fermés de tous côtés et protégés contre la corrosion par galvanisation.
- Pour éviter les risques de rupture dans la zone du boîtier de serrure pendant le montage du boîtier et de la quincaillerie, les serrures SSF sont équipées d'un support de boîtier de serrure protégé par la loi.
- Ce support sert également de protection contre les copeaux.
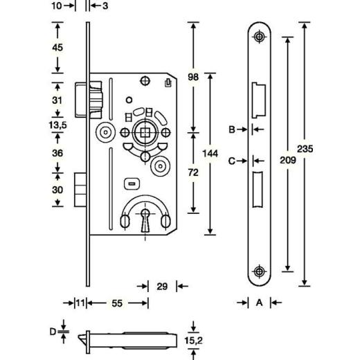
Données techniques du produit :
 |
| Cliquez sur le dessin pour agrandir ! |
- Version BB
- Conforme à la norme DIN 18251-1 Classe 1
- Boîtier de serrure fermé de tous côtés
- 1 tour
- Arrondi
- Têtière finition en aluminium couleur argent
- Largeur de la têtière 20 mm
- Longueur de la têtière 235 mm
- Dimensions du mandrin 55 mm
- Distance 72 mm
- Carré 8 mm
- Pêne dormant et pêne demi-tour en plastique
- Sans gâche de fermeture
- 1 clé
DIN à gauche : On se tient devant la porte qui s'ouvre vers soi. Si les charnières de la porte sont à gauche, on parle de DIN à gauche.
DIN à droite : On se tient devant la porte qui s'ouvre vers soi. Si les charnières de la porte sont à droite, on parle de DIN à droite.

Informations sur la sécurité du produit – Cliquez ici pour plus d'infos
Sächsische Schlossfabrik GmbH · Am Pappelhain 10 · 04539 Groitzsch · Germany · info@ssf.de
Prix:
18,20 EUR
TVA 21 % inclus Sans frais de port